软土地区地铁车站半盖挖深基坑施工
摘 要: 软土地区地铁车站深基坑施工选用半盖挖法,采用地下连续墙 + 内支撑作为围护结构,既满足了路面道路宽度行车的要求,又能满足地铁施工的需要,并通过实际工程监测,说明设计构件均能满足工程需要,为地铁工程中的半盖挖设计提供参考。
关键词: 半盖挖 混凝土路面 支撑
1 工程概述
城市轨道交通往往修建于城市繁华地区,但给施工造成不便。软土地区地铁车站深基坑施工选用半盖挖法既不影响市内现有交通状况,又能满足地铁施工的需要。
某地铁站工程周边建筑较多,均为多层居民楼,距离基坑较近,西北侧 6 层和 7 层楼距离基坑约为 7 ~ 8m,基础均为条形基础,埋深约为 9 m; 其余位于基坑两侧的楼房,基础均为条形基础,埋深 5 m 或 9 m,距离基坑约 10 ~ 20 m。
道路的路面总宽度为 45 m,整个车站位于道路下方,除去车站用地后,路面宽度最大处只有 9 m,为保证道路交通,车站进行半盖挖法施工,在车站南侧设置临时路面系统,保证地面 20 m 宽的交通疏解道路。
1) 工程地质条件
本站所在场地为广阔的冲湖积平原,水系发育,地势平坦,系典型的水网化平原。车站站址处地势较为平坦。根据地质资料,地层层序自上而下依次为: ①1杂填土、①2素填土、③1粉质黏土层、③2粉质黏土层、④1粉土层、④2粉砂层、⑤粉质黏土、⑥1粉质黏土、⑥2粉质黏土、⑦粉土、粉砂、⑧粉质黏土、⑨粉质黏土、⑩粉土、粉细砂、瑏瑡粉质黏土。
2) 水文地质条件
场地内主要有地表水、承压水,地表水对基坑施工影响较小,微承压水位于基坑深度范围内,是影响基坑安全的主要水层。
微承压水由④-1 层粉土、④-2层粉砂和⑤层软~流塑粉质黏土夹粉土构成含水层。该含水层埋藏较浅,厚度较大。其中,④-2层赋水性较好,透水性较强,水量较丰富,为基坑开挖深度内的主要出水地层,亦为对地铁施工及运营影响较大的含水层。
承压水由⑦层粉土、粉砂和⑧层流塑 ~ 软塑粉质黏土组成含水层。该含水层含水较丰富,但埋藏较深,对地下两层的车站影响不大,对地下三层段的坑底稳定性产生不利影响。
2 基坑半盖挖法施工
车站一般段基坑深度在 16 m 左右,底板座落在⑤层粉质黏土层上,基坑宽度从 15. 25 m 至 41. 2 m 不等。考虑到本工程的周边环境及水文地质条件,基坑采用地下连续墙 + 内支撑的围护方案,主要采用 800mm 厚地下连续墙作为围护结构。 由于基坑形状不规则,为便于支撑设置和安排施工工序,内支撑体系采用混凝土支撑,沿基坑竖向共设置 3 道。
路面板采用 300 mm 厚现浇混凝土板,板下设纵横梁并兼做基坑的第一道混凝土支撑。纵横梁下采用临时格构柱作为路面系统的支撑结构,格构柱基础采用钻孔灌注桩。路面系统计算时,按照公路-Ⅱ级荷载考虑。
1) 基坑断面如图 1 所示。

2) 车站的施工工序为: ① 将道路交通向一侧改移,围挡施工车站一边的第一道支撑及路面板系统等;②将交通疏解向施工完毕的一侧改移,施工场地相应转移至另外一边。在该施工场地内,完成车站其余部分的地基加固、围护结构、桩、临时立柱等结构,然后根据设计要求,向下开挖基坑,及时进行支护,开挖至基底后,向上回筑并拆除支撑,直至完成主体结构。
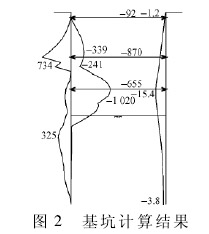
3) 采用朗金主动土压公式,施工阶段水土合算④1粉土、④2粉砂层采用水土分算) 。水浮力按照最高水位按地面以下 1 m 计算。由于车站一侧为施工用地、一侧为城市道路,故考虑基坑两侧的超载取值为 30kPa。计算采用 sap84 软件,加载方式为增量法。结果如图 2 所示。计算出基坑最大水平位移 15. 4 mm,最大弯矩标准值为 1 020 kN·m,第一道支撑最大轴力为736 kN,第二道支撑最大轴力为6 960 kN,第三道支撑最大轴力为5 240 kN。

( 结构弯矩单位: kN·mm; 结构位移单位: mm)
4) 施工监测。①路面系统监测结果表明,路面板最大沉降为 22. 53 mm。②基坑监测到地面沉降最大值为 26. 3 mm。本次对混凝土支撑轴力的监测,由于初始值偏差较大,导致混凝土支撑的轴力偏差较大,第一道支撑最大轴力为6 414 kN,第二道支撑最大轴力为13 931 kN,第三道支撑最大轴力为9 851 kN。分别比理论值增大 771% ,100% ,88% 。每道支撑的最大轴力均比理论计算值要大,这主要是因为现场操作,混凝土的轴力不易测出,误差较大引起。
围护结构的水平位移最大值为 25 mm,垂直位移最大值为 23 mm。均未超出 设计允许的最 大值 30mm。施工中每个阶段的围护结构水平位移如图 3 ~图 5 所示。


3 结论
根据以上分析,该工程采用半盖挖的施工方法,可以解决交通疏解问题,同时,又尽可能小地减少了对施工的影响,是比较合理的施工方法。通过现场跟踪监测,表明围护结构形式是可行的,基坑的变形、地表的沉降,都在允许范围内。综合说来,基坑监测的数据,如围护结构变形量等,与理论计算基本一致。
参 考 文 献
[1]贺俊,杨平,张婷. 复杂条件下深基坑施工变形控制及周边环境监测分析[J]. 铁道建筑,2010( 7) : 96-99.
[2]张建新,张阳,张淑朝,等. 深基坑逆作开挖时地下连续墙侧向变形分析[J]. 铁道建筑,2009( 12) : 56-58.
[3]侯昭路. 成都地铁 2 号线牛王庙车站半盖挖法设计[J]. 现代隧道技术,2009( 1) : 8-14.
[4]向群. 地铁车站深基坑开挖对周围建筑的影响及处理[J].铁道建筑,2004( 8) : 50-53.